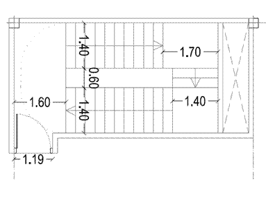
Quisiera plantear una consulta sobre el requerimiento del DB SUA1 apartado 4.2.3.3 según el cual en zonas de hospitalización la profundidad de las mesetas en las que el recorrido obliga a giros de 180º es de 1,60m como mínimo:
¿En el caso de una escalera de doble tramo y 1,4 m de ancho útil en el que se dispone de meseta de acceso a cada planta con profundidad 1,60 m (al haber giro de 180º) pero en el que la meseta intermedia se subdivide en dos mesetas a 90º y tramo de 3 escalones, que profundidad requiere esta meseta intermedia: 1,60 m (porque en realidad el problema de evacuación es el mismo que en la meseta de acceso) o 1,4 m (porque en realidad es una meseta a 90º + tramo de 3 escalones de 1,4 m + meseta a 90º)?

Respuesta
La profundidad debe ser 1,60 m, por que cabe asimilar el caso al de una meseta con giro a 180º.
